麻豆国产AV国片精品股份

咨询服务热线: 15222906608
仪表电缆自动化成套 压力麻豆伦理片无码\差压麻豆伦理片无码\温度麻豆伦理片无码\液位麻豆伦理片无码等
banner

热门关键字:

全国服务热线

15222906608
23(s)Y/25Y系列通用型压力麻豆伦理片无码

23(s)Y/25Y系列通用型压力麻豆伦理片无码

产品概述: Y系列压力麻豆伦理片无码具有小的温度误差,这是通过使用包含温度传感器的附加电路将温度变化分成宽度为1.5K的几个单元来实现的。每个单元之间的零...
麦德林智能压力麻豆伦理片无码在液位测量中的扩展应用

麦德林智能压力麻豆伦理片无码在液位测量中的扩展应用

应用麦德申单晶硅智能压力麻豆伦理片无码测量液位有其独特的特点。对于温度变化引起的液位偏差,可以根据密度与温度的对应关系,通过温度补偿计算,间接换...
LEEG单晶硅压力麻豆伦理片无码新产品发布,敬请期待!

LEEG单晶硅压力麻豆伦理片无码新产品发布,敬请期待!

再过一个月,上海传感器博览会(传感器中国博览会& 2019年会议,中国(上海)国际传感器技术与应用展览会),国内盛会,上海李哥将发布LEEG单晶硅压力变送...
河流仪表电解槽入口电流DC电压压力麻豆伦理片无码的求解

河流仪表电解槽入口电流DC电压压力麻豆伦理片无码的求解

在此期间,河表将响应电解池入口的DC电压压力麻豆伦理片无码法兰。 大家好,在麻豆国产AV国片精品单元电解槽的入口液相压力麻豆伦理片无码法兰处有一个约200伏的DC电压。你曾经遇到...
LD 3851d p4s 222 B3 m3 D2 压力麻豆伦理片无码

LD 3851d p4s 222 B3 m3 D2 压力麻豆伦理片无码

很荣幸向您推荐淮安润泰仪器有限公司的重点产品之一,如有任何需求或建议,请联系麻豆国产AV国片精品,电话:182-5232-8676 产品介绍 用于测量液体、气体或蒸汽的液位、...
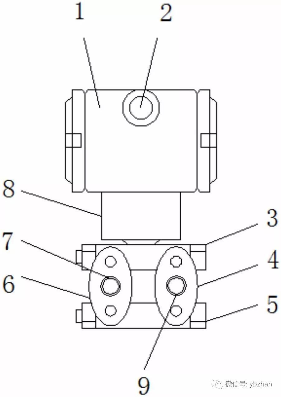
本发明涉及一种智能麻豆伦理片无码

本发明涉及一种智能麻豆伦理片无码

创造力是无限的,仪器是伟大的发明。今天,我介绍一项国家发明专利——智能发射器。该专利由江苏菲尔德自动化仪器有限公司申请,并于2018年7月24日公...
网站地图